十大滚球app官网
2-9 管道的大修程序有哪些?
答:管道的大修程序如下:

2-10 管道的新装工程的工作程序有哪些?
答:管道新装工程的工作程序如下:

2-11 管道移装工程的工作程序有哪些?
答:管道移装工程的工作程序如下:

2-12 管道新装及验收有哪些要求?
答:管道新装及验收要求是:
企业在更新、改装和加装动力管线是,均由主管部门签发动力管线(改)装施工单。施工完毕后,绘制竣工图交专管部门验收并归档保存,以便定期修改管线图时使用。未经专管部门批准,不准擅自拆除(事故处理除外)动力管线。
企业动力部门在今后基建及技术项目联合验收时,应按有关规定接受施工单位的竣工管线图和有关技术资料,管道新装验收单可参考表 2-15 所示。
| 单元编号 | 名称 | 安装位置 | 施工单位 | 管理单位 | 工程图号 | 备注 | |
| 管道材料 | 管道位置 | ||||||
| 主要参数 | 管径 | ||||||
| 管长 | |||||||
| 管子附件 | |||||||
| 阀门 | 规格 | ||||||
| 数量 | |||||||
| 移交部门 | 主管: | 使用部门 | 主管: | 主管部门 | 主管: | 财务部门 | 主管: |
| 移交人员: | 设备员: | 经办人员: | 经办人员: | ||||
2-13 动力管道修理竣工的验收程序有哪些?
答:动力管道修理竣工的验收程序如下:

动力管道修理验收单见表 2-16。
| 设备编号 | 名称 | 复杂系数 | 修理类别 | |||||
| 工程图号 | 承修小组 | 验收日期 | ||||||
| 管道技术员意见: (签名): 年 月 日 | ||||||||
| 动力科技书管理组意见: (签名): 年 月 日 | ||||||||
| 动力科领导意见: (签名): 年 月 日 | ||||||||
| 备注 | ||||||||
2-14 技术、基建工程新装、移装动力管道的验收程序有哪些?
答:技术、基建工程新装、移装动力管道的验收程序如下:

2-15 动力管道图的验收归档程序有哪些?
答:动力管道图的验收归档程序如下:

2-16 动力管道大修理内容有哪些?
答:动力管道大修理内容是:
1)拆换已坏管道。
2)修理阀门、研磨阀座或更换阀门。
3)修理或更换部分动力接头箱。
4)清洗修理明管(指架空及地上管道)的内外壁和埋地管道的内壁。
5)给支架和管道刷涂面漆。
6)检查蒸汽管保温层级保温外壳。
7)清洗和修理管道各种附件及部件(如汽水分离器等),并进行涂漆。
8)对管道的修理部分必须按规定要求进行强度试验和气密封性试验。
2-17 动力管道一般检修内容有哪些?
答:动力管道一般检修内容是:
1)清理管道(明管)的外表。
2)更换已损坏的法兰衬垫及管件。
3)检修阀门的密封件及填料。
2-18 动力管道的修理周期是多少?
答:动力管道修理周期见表 2-17。
| 名称 | 修理周期 | 备注 |
| 蒸汽管道 | 2年大修一次 | 对运行状态良好,维修保养较好的可以每3-4年大修一次 |
| 采暖管道 | 1年大修一次 | |
| 乙炔管道 | 2年大修一次 | |
| 压缩空气管道 | 4年大修一次 | 室外管道每2~4 年油漆一次 |
| 给水管道 | 4年大修一次 | 1~2 年进行一次清理 |
| 燃油管道 | 1年大修一次 | 半年进行一次清理 |
| 氧气管道 | 1~2年大修一次 | |
| 煤气管道 | 1~2年大修一次 | |
| 制冷管道 | 1年大修一次 |
2-19 动力管道的大修理复杂系数是多少?
答:动力管道大修理复杂系数见表 2-18。
![]() |
压缩空气管道给水管道 | 蒸汽管道 | 乙炔管道 | 氧气管道 |
| <25 | 1.1 | 1.5 | 1.4 | 1.4 |
| 50 | 1.3 | 1.7 | 1.6 | 1.6 |
| 80 | 1.9 | 2.5 | — | 2.3 |
| 100 | 2.4 | 3.0 | — | 2.8 |
| 150 | 2.8 | 3.6 | — | — |
| 200 | 3.5 | 4.5 | — | — |
| 250 | 4.5 | — | — | — |
| 300 | 5.3 | — | — | — |
| 350 | 6.0 | — | — | — |
| 400 | 7.8 | — | — | — |
注:每 100m 的动力管道大修复复杂系数。
表 2-18 列出了 每 100m 动力管道的大修理发杂系数(按三级工技术水平计)。
2-20 动力管道维修工时定额是多少?
答:动力管道修理工程是定额见表 2-19。
| 项目 | 大修理 | ||||
| 管道工 | 焊工 | 起重工 | 挖土工及辅助工 | 合计 | |
| 工时额定 | 35 | 10 | 15 | 20 | 85 |
由于各企业目前的管理水平不一,管理人员平均技术等级不一,所以动力管道修理复杂系数的工时额定还不统一,以后应通过加强管理和培训使之逐步统一。
2-21 管道使用前检验内容是什么?
答:管道使用前检验指在使用前对管道的制造和安装质量进行了全面审核验收。
1)审查施工图样及施工技术要求等是否符合有关标准、规范。
2)审查管材、管件、阀门等是否有合格证及质量说明书。其化学成分、力学性能、无损检测、耐压试验应符合 GB 50235-1997《工业金属管道工程施工及验收规范》。对缺项应进行补充检验。
3)审查安装记录。包括加工检验、焊接工艺评定、无损检测报告、返修记录、热处理、耐压试验、酸洗、吹扫、防腐保温登记录(报告)。其技术要就应符合 GB 50236—1998《现场设备、工业管道焊接工程施工及验收规范》。
4)对管道的外观、几何尺寸、安装质量、无损检测、防腐保温等进行抽检。对压力管道的抽检应不低于整条管线 10% 的比例。
2-22 管道在线检验内容是什么?
答:管道的在线检验,是指在运行时进行的检验,包括内容:
1)检查管道及其接口法兰、接头、焊接、阀门填料等泄漏情况。
2)检查管道振动、活动支架位移和固定支架牢固等情况。
3)检查防腐、保温层的完好情况。
4)检查安全附件可靠灵敏情况。
5)对于安全管道,必要时检检查壁厚情况。
2-23 管道的全面检验内容是什么?
答:管道的全面检验,是指停车大检修是的检验,它包括在线检验内容和一下内容:
1)检查管道表面裂纹、褶迭、重皮、局部腐蚀、碰上变形、局部过热等情况。
2)检查焊接接头裂纹、凹陷、错边、咬边等情况。
3)检查弯头、弯管的异常变形情况。
根据介质的物理状况及流向,对易受介质冲刷、可能积液、曲率变化及腐蚀部位进行测后检查。每段管测厚范围应大于等于三点。发现问题应扩大测后范围,找出异常区域。当壁厚 <10% 时,对压力管道,还应做强度校核。
5)对宏观检查发现裂纹、保温层破损可能渗入水以及有可能产生疲劳的压力管道焊缝、管道表面、管接头及连接螺栓应做便面检测;对重要的压力管道焊缝还应做 ≥10% 的射线或超声波检测。
6)压力管道的前面检验周期,一般每小于等于 6 年进行一次。
2-24 工业管道完好标准内容是什么?
答:工业管道完好标准内容见表 2-20。
| 项目 | 内容 | 考核定分 |
| 1 | 管道技术档案资料齐全、正确,有管线图,安装(改装)竣工图等,并按有关规定列入设备固定资产 | 10 |
| 2 | 管道防腐保温性能符合有关设计规范要求,油漆明亮,色标色环达到规定要求,主要干线有明显指标介质流动方向、管道、阀门等总泄露率 ≤2‰ | 16 |
| 3 | 管道敷设应能满足生产工艺要求或生活需要,选用管材及附件应符合有关规范的要求 | 16 |
| 4 | 架空管道的支架、吊架结构合理,支撑妥善,支架间距合理,符合技术规范;埋地管道应采取措施解决膨胀和水浸蚀问题,且有稳固基础和良好保温设施,检查并设置合理;地沟内敷设管道应能保护管道不受外力和水的浸蚀,地沟油良好的防水排水措施 | 16 |
| 5 | 管道的敷设应有合适坡度,顺坡或逆坡应符合有关设计规范要求,并在最低点设排水装置;煤气、氧气、供油管道等应有可靠的措施,以导泄静电,接地电阻及重复接地符合有关规范要求 | 16 |
| 6 | 做好管道的强度试验等工作,并有记录 | 16 |
| 7 | 管道在厂区和车间架空或埋地敷设时,与其他管道、电力线路、电信线路及建筑物之间的水平和垂直交叉净距,应符合有关设计范围要求 | 10 |
2-25 蒸汽管路及分汽缸完好标准内容是什么?
答:蒸汽管路及分汽缸完好标准内容见表 2-21。
| 项目 | 内容 | 考核定分 |
| 1 | 分汽缸设计制造符合规定要求,试验合格,保温良好,无漏气、漏水现象 | 20 |
| 2 | 管路布置敷设合理整齐,保温良好,色标正确 | 20 |
| 3 | 工作压力不同的锅炉,并分别装有独立的蒸汽管道和给水管道;如合用一条蒸汽干管较高压力的蒸汽管道上必须有自动减压装置,分汽缸上应装置压力表和安全圈 | 20 |
| 4 | 应有明显的标记指示汽,水流动的方向和阀门开关方向 | 20 |
| 5 | 可分为省煤器的入口和通向锅筒的给水管,应分别装设给水截止阀和给水止回阀(截止阀应装在锅筒或雀煤器入口处和止回阀之间) | 20 |
2-26 压力管道日常检查、保养项目有哪些?
答:压力管道日常检查、保养项目见表 2-22。
| 项目检查 | 检查方法 | 检查内容 | 问题的危害 | 保养方法和措施 |
| 压力表 | 目测校验 | 1)表面玻璃是否完整 | 因指标不正确可能造成超压 | 定期校验和维修 |
| 2)指示是否灵敏 | ||||
| 3)导压管是否通畅 | ||||
| 4)铅封是否完好 | ||||
| 电偶温度计 | 目测校验 | 温度指示是否标准 | 超温会产生管道材料应力腐蚀、蠕变等 | 定期校验和维修 |
| 安全阀 | 目测 | 1)有无异物卡在阀芯和弹簧中间 | 1)漏气 | 停车或泄压是进行调校 |
| 2)弹簧及其他零件有无破损,是否漏气 | ||||
| 3)弹簧及其他零件有无损换,是否漏气 | 2)在超压时因安全阀不能起跳造成管道事故 | |||
| 4)铅封是否完好 | ||||
| 5)隔断阀铅封是否完好 | ||||
| 爆碎片 | 目测 | 1)膜片是否存在缺陷 | 同上 | 注意安装前的检验;按规定定期更换 |
| 2)导管是否畅通 | ||||
| 管道支架 | 目测、耳听、手摸 | 1)支架是否松动 | 管道因磨损和疲劳而断裂;管道应力增大 | 把紧螺栓或加固 |
| 2)管道有无振动 | ||||
| 3)支架是否损毁 | ||||
| 管架基础 | 目测 | 1)基础是否下沉 | 基础损坏,使管道承受附加应力,威胁安全生产 | 1)定期观察基础下沉情况,采取针对性措施 |
| 2)基础有无裂缝 | 2)测定裂纹是否继续扩大 | |||
| 绝热层 | 目测表面温度计 | 1)支主材料是否损伤脱落、受潮、失效 | 1)产生管道热损失 |
更换保温材料;损坏要及时修复 |
| 2)防潮层是否损坏、失效 | 2)腐蚀 | |||
| 3)外护层是否损伤、脱落 | 3)保温结构失去保护,过早破坏 | |||
| 阀门填料 | 目测 | 有无泄漏 | 影响环境卫生、文明生产和安全 | 装填料和紧密封函时要严格按技术要求办 |
| 螺栓 | 目测 | 1)是否锈蚀 | 1)造成螺旋、丝扣腐蚀 | 涂防锈油;把紧螺栓 |
| 2)是否松动 | 2)造成泄漏 |
2-27 管道法兰密封面泄露的主要原因与防止措施是什么?
答:管道法兰密封面泄露的主要原因与防止措施见表 2-23。
| 泄漏原因 | 泄漏状况说明 | 防止措施 |
| 多高温、高压的结构选择不当 | 即使正确施工,紧固很好,也仍然泄漏不止或由于热应力等经常发生泄漏 | 要重新研究法兰、垫圈、螺栓等的结构和材料等 |
| 由于管系的热应力等异常应力而引起的法兰或螺栓的损伤 | 如破损就会发生泄露,但即使不破损,垫圈压面的变化,也常常发生泄露 | 要重新研究管系的挠性,必要时增加挠性 |
| 法兰、垫圈、螺栓的热膨胀不均 | 即使结构等均良好,但法兰部位有温度梯度时,也往往发生泄漏 | 缓和法兰部位的温度梯度,可降低热圈系数 |
| 法兰刚性不足,垫圈配合面的缺陷 | 法兰变形,不能得到均匀面适当的垫圈压面 | 提高法兰的刚性,可降低热圈系数 |
| 法兰平衡性不好、中心偏差 | 安装不当或机械损伤而是垫圈不贴合处泄漏 | 重点加工垫圈配合面,或更换法兰,校正法兰的平行性和中心线 |
| 螺栓强度不足,松动和腐蚀 | 在高温情况下,有强度不足(蠕变)的情况;由于振动,热变化、应力缓和而松动;多数是来自外部的腐蚀 | 重新研究螺栓材料及其尺寸;增大螺栓尺寸,使热变化均匀,经常紧固螺栓;更换新螺栓 |
| 垫圈承压力不足;受腐蚀;变质,或材料缺陷 | 由各种综合情况而引起;或由于流体的作用而腐蚀,或随使用时间的增加而变质 | 紧固螺栓,考虑材料及形状,改变尺寸或更换新垫圈 |
2-28 氧气管道试压要求有哪些?
答:氧气管道应定期进行强度试验和严密性试验,具体要求见表 2-24。强度试验一般采用水压试验。氧气管道试压时,使用的试验介质都应是无油的,水压泵也必须除油。
| 类别 | 工作压力 p/MPa | 强度试验 | 严密性试验 | ||
| 试验用介质 | 试验压力/MPa | 试验用介质 | 试验压力/MPa | ||
| 氧气管道 | >2.98 | 水 | 1.25p | 空气 | p |
| 0.07~2.98 | 空气 | 1.1p | 空气 | p | |
| 或水 | 1.25p | 空气 | p | ||
| <0.07 | 空气 | 1 | 空气 | p | |
| 空气、氧气及氮气 | >2.98 | 水 | 1.25p | 空气 | p |
| 0.07~2.98 | 空气 | 1.1p | 空气 | p | |
| 或水 | 1.25p | 空气 | p | ||
| <0.07 | 空气 | 1 | 空气 | p | |
如以气压来进行试验,应按试验压力的 20% 分级压力;升至所要求的试验压力后,观测 5min,如压力下降,则将压力降至工作压力进行外观检查,无破裂、变形或漏气等情况即认为合格。如以水压来进行试验,升至所要求的试验压力后,观测 10min,其余要求同气压试验。
强度试验合格后在进行严密性试验,试验压力升至规定值时,在所有接口处图皂液检查,并观测 24h,如无缺陷且平均每小时漏气率 ≤1% 为合格。
2-29 管道的类型、选材及用途有哪些?
答:常用管道的类型、选材及用途见表 2-25 所示。
| 序号 | 管道类型 | 选用材料 | 一般用途 | 标准号 | 备注 | |
| 1 | 无缝钢管 | 中低压用 | 普通碳素钢、优质碳素钢,低合金钢、合金结构钢 | 输送对碳钢无腐蚀或腐蚀速度很小的各种流体 | GB/T 8163—1999(2008) | |
| GB/T 3082—1984(2008) | ||||||
| GB/T 9948—2006 | ||||||
| 高要用 | 20、15MnV 等 | 合成氨、尿素、甲醇生产中大量使用 | GB/T 6479—2000 | |||
| 不锈钢 | 1Cr18Ni9Ti 等 | 液碱、丁醛、丁醇、液氮、硝酸、硝铵溶液的输送 | GB/T 14975—2002 | |||
| 2 | 焊接钢管 | 水煤气输送钢管 | Q235—A | 适用于输送水、压缩空气、煤气、乏汽、冷凝水和采暖系统的管理 | GB/T 3091—20088 | |
| 螺旋缝电焊钢管 | Q235、16Mn 等 | SY/T 5037—2000 | ||||
| 不锈钢焊接钢管 | 1Cr18Ni9Ti 等 | HG 20537.3—1992 | ||||
| HG 20537.4—1992 | ||||||
| 3 | 金属软管 | 钎焊不锈钢软管 | 1Cr18Ni9Ti | 一般适用于输送带有腐蚀性气体 | ||
| P2 型耐压软管 | 低碳镀锌钢带 | 一般用于输送中性的液体、气体及混合物 | ||||
| P3 型吸尘管 | 低碳镀锌钢带 | 一般用于通风、吸尘的管道 | ||||
| PM1 型耐压管 | 低碳镀锌钢带 | 一般用于输送中性液体 | ||||
| 4 | 有色金属 | 铜管和黄铜管 | T2、T3、T4、TUP、TU1、TU2、H68、H62 | 适用于一般工业部门,用作机器和真空设备上的管理及压力小于 10MPa 时的氧气管路 | GB/T 1527—2006 | |
| 铅及其合金管 | 纯铅,Pb4、Pb5、Pb6,铅锑合金(硬铅),PbSb4、PbSb6、PbSb8 | 适用于化学、染料、制药及其他工业部门做耐酸材料的管道,如输送 15%~65% 的硫酸,干或湿的二氧化硫,60% 的氢氟酸,含量小于 80% 的醋酸,铅管的最高使用温度为 200℃,但温度高于 140℃时,不宜在压力下使用 | GB/T 1472—2005 | |||
| 铝及其合金 | L2、L3、工业纯铝 | 铝管用于输送脂肪酸、硫化氢及二氧化碳,铝管最高使用温度 200℃,温度高于 160℃ 时,不宜在压力下使用,铝管还可以用于输送浓硝酸、醋酸、蚁酸、硫的化合物及硫酸盐。不能用于盐酸、碱液,特别是含氯离子的化合物。铝管不可用对铝有腐蚀的碳酸镁、含碱玻璃棉保温 | GB/T 6893—2000 | |||
| GB/T 4436—1995 | ||||||
| 5 | 纤维缠绕玻璃钢管 | 承插胶粘直管、对接直管和 O 形环承插连接直管 | 玻璃钢 | 一般用在公称压力 0.6~1.6MPa、公称直径大于 50mm 的官道上 | ||
| 玻璃钢管 | 玻璃铜 |
低压接触成型直管使用压力小于等于 0.6MPa,长丝缠绕直管,使用压力小于等于 1.6MPa |
||||
| 6 | 增强聚丙烯管 | 聚丙烯 | 具有轻质高强,耐腐蚀性好,致密性好、价格低等特点,使用温度为 120℃,使用压力为小于等于 1.0MPa | HG 20539—1992 | ||
| 7 | 玻璃管增强聚氯乙烯复合管 | 玻璃、聚氯乙烯 | 一般用于公称直径 15~4000mm,PN 小于等于 1.6MPa 的管道上 | HG/T 3731—2004 | ||
| 8 | 玻璃钢增强聚氯乙烯复合管 | 玻璃钢、聚氯乙烯 | 使用压力小于等于 1.6MPa | |||
| 9 | 钢衬改性聚丙烯复合管 | 钢、聚丙烯 | 使用压力可大于 1.6MPa | |||
| 10 | 钢衬聚四氟乙烯推压管 | 钢、聚四氟乙烯 | 使用压力可大于 1.6MPa | |||
| 11 | 钢衬高性能聚乙烯管 | 钢、聚乙烯 | 具有耐腐蚀、耐磨损等特点 | |||
| 12 | 钢喷涂聚乙烯管 | 钢、聚乙烯 | 使用压力小于等于 0.6MPa | |||
| 13 | 钢衬橡胶管 | 钢、橡胶 | 使用压力可大于 1.6MPa | HG 21501—1993 | ||
| 14 | 钢衬玻璃管 | 钢、玻璃 | 使用压力可大于 1.6MPa | HG/T 2130—1991 | ||
| 15 | 搪玻璃管 | 钢、瓷釉 | 使用压力可小于 0.6MPa | |||
| 16 | 硬聚氯乙烯管 | 聚氯乙烯 | 公称压力 0.63~2.5MPa | GB/T 4219.1—2008 | ||
| 17 | ABS 管 | ABS | 使用压力小于等于 0.6MPa | |||
| 18 | 耐酸陶瓷管 | 陶瓷 | 使用压力小于等于 0.6MPa | |||
| 19 | 聚丙烯管 | 聚丙烯 | 一般用于化工防腐蚀管道上 | |||
| 20 | 氟塑料管 | 聚四氟乙烯 | 耐腐蚀、且耐负压 | |||
| 21 | 输水,吸水胶管 | 橡胶 | 1)夹套输水胶管,输送常温水和一般中性液体,公称压力小于等于 0.7MPa | HG/T 2184—2008 | ||
|
2)纤维缠绕输水胶管,输送常温水,工作压力小于等于 1.0MPa |
||||||
| 3)吸水胶管,适用于常温水和一般中性液体 | ||||||
| 22 | 夹布输气管 | 胶管 | 一般适用输送压缩空气和惰性气体 | |||
| 23 | 输油、吸油胶管 | 耐油橡胶 | 1)夹布吸油胶管,适用于输送 40℃ 以下的汽油、煤油、柴油、机油、润滑油及其他矿物油类,工作压力小于等于 1.0MPa | |||
| 2)吸油胶管,适用于抽吸 40℃ 以下的汽油、煤油、柴油以及其他矿物油类 | ||||||
| 24 | 输酸、吸酸胶管 | 耐酸胶 | 1)夹布输稀酸(碱)胶管,适用于输送含量在 40% 以下的烯酸(碱)溶液(硝酸除外) | |||
| 2)吸稀酸(碱)胶管,适用于抽吸含量在 40% 以下的烯酸(碱)溶液(硝酸除外) | ||||||
| 3)稀浓硫酸管,适用于抽吸含量在 95% 以下的浓硫酸及 40% 以下的硝酸 | ||||||
| 25 | 蒸汽胶管 | 合成胶 | 1)夹布蒸汽胶管,适用于输送压力小于等于 0.4MPa 的饱和蒸汽或温度小于等于 150℃ 的热水 | HG/T 3036—1999 | ||
|
2)钢丝编织蒸汽胶管、供输送压力小于等于 1.0MPa 的饱和蒸汽 |
||||||
| 26 | 耐磨吸引胶管 | 合成胶 | 适用于输送含固体颗粒的液体和气体 | |||
| 27 | 合成树脂复合排吸压力软管 | 合成树脂 | 适用于输送或吸抽燃料油、变压器油、润滑油以及化学药品、有机溶剂 | |||
2-30 螺纹联接件如何装配?
答:螺纹连接件的装配和拆卸一样,不仅要使用合适的工具、设备,还要按技术文件的规定施加适当的拧紧力矩。表 2-26 列出的是拧紧碳素钢螺纹件的参考力矩。
用扳手拧紧螺栓时,应使其直径的大小来确定是否用套管加长扳手,尤其是螺栓直径在 20mm 以内时要注意用力的大小,以免损坏螺纹。
重要的螺纹联接件都有规定的拧紧力矩,安装时必须用力矩扳手按规定拧紧螺栓。对组成螺纹联接的装配,施力要均匀,按一定次序轮流拧紧,如图 2-1 所示。如有定位装置(销)时,应先从定位装置附近开始。

图 2-1 螺纹组拧紧顺序
0—定位销
| 螺纹尺寸/mm | M8 | M10 | M12 | M14 | M16 | M18 | M20 | M22 | M24 |
| 标准拧紧力矩/N·m | 10 | 30 | 35 | 53 | 85 | 120 | 190 | 230 | 270 |
2-31 螺纹联接中如何防止松动?
答:如果螺纹联接一旦出现松脱,轻者会影响机器的正常运转,重者会造成严重的事故。因此,装配后应采取有效措施,防止联接松脱,保证联接安全可靠。
防松的方法,按照其工作原理可分为摩擦防松、机械防松、铆冲防松等。粘合防松法近年来得到了发展,他是在旋合的螺纹间涂以液体密封胶,待硬化后使螺纹副精密粘合,这种防松方法,效果良好且具有密封作用。此外,还有一些特殊的防松方法适用于某些专业产品的特殊需求,目前常用的防松方法见表 2-27。
| 防松方法 | 结构方式 | 特点和应用 | |
| 摩擦防松 | 对顶螺母 |
![]() |
两螺母对顶拧紧后,使旋合螺纹间始终受到附加的压力和摩擦力的作用。工作载荷有变动时,该摩擦力仍然存在,旋合螺纹间的接触情况如图所示,下螺母螺纹牙受力较小,其高度可小些,但为了防止装错,两螺母的高度取成相等为宜。 结构简单、适用于平稳、低速和重载的联接 |
| 弹簧垫圈 |
![]() |
螺母拧紧后,靠垫圈压平时而产生的弹性反力使旋合螺纹间压缩。同时,垫圈斜口的尖端抵注螺母与被联接件的之承面也有防松作用 结构简单,防松方便。但由于垫圈的弹力不均,在冲击、振动的工作条件下,其防松效果较差。一般用于不甚重要的联接 |
|
| 自锁螺母 |
![]() |
螺母一端制成非圆形收口,当螺母拧紧后,收口涨开,利用收口的弹力使旋合螺纹间压缩 结构简单,防松可靠,可多次装拆而不降低放防松性能。适用于较重要的联接 |
|
| 机械防松 | 开口销与槽形螺母 |
![]() |
槽型螺母拧紧后将开口销穿入螺栓尾部小孔和螺母的槽内。并将开口销尾部掰开与螺母侧面贴紧。也可用普通螺母代替槽型螺母,但需拧紧螺母后再配钻孔 适用于较大冲击、振动的高速机械的联接 |
| 止动垫圈 |
![]() |
螺母拧紧后,将单耳或双耳止动垫圈分别向螺母和连接件的侧面折弯贴紧,即可将螺母锁住。若两个螺栓需要双联锁紧时,可采用双联制动垫圈,是两个螺母相互制动。 结构简单,使用方便,防松可靠 |
|
| 串联钢丝 |
![]() |
用低碳钢丝穿入各螺钉头部的孔内,将各螺钉串联起来,使其相互制动,使用时必须注意钢丝的穿入方向(上图正确,下图错误) 适用于螺钉组联接,防松可靠,但装拆不便 |
|
| 铆冲防松 | 端铆 |
![]() |
螺母拧紧后,把螺栓末端伸出部分铆死。防松可靠,但拆卸后联接件不能重复使用。适用于不需拆卸的特殊联接 |
| 冲点 |
![]() |
螺母拧紧后,利用冲头在螺栓末端与螺母的旋合缝处打冲,利用冲点防松 防松可靠,但拆卸后联接件不能重复使用。适用于不需拆卸的特殊联接 |
|
2-32 螺纹联接装配时应注意什么?
答:螺纹联接装配时应注意如下几点:
1)正确选择装配工具,做到所选用工具使用方便并避免损坏螺母和螺杆。尽可能选择套筒扳手、梅花扳手、死角或六角扳手,最好不用活动扳手。
2)装配前应检查被装配螺栓和螺母。被装配螺纹件应符合图样要求,螺杆螺母无损伤。螺纹部分配合质量良好,在自由状态下用手转动灵活,螺杆部分无弯曲变形。
3)装配方法方便可行。如双头螺柱用双螺母或双头螺柱安装工具装入。
4)装配中不宜随便用加力杆。按规定预紧力预紧时,可用定力矩扳手或测力矩扳手控制。表 2-28 给出的基本直径 8mm 至 48mm 的螺纹拧紧力矩。
5)成组螺栓连接装配要是螺杆受力均匀,在拧紧时应采取对称交错拧紧的方法,如图 2-2 所示。

图 2-2 螺栓组的拧紧顺序
| 基本直径 | 拧紧力矩/N·m | 基本直径 | 拧紧力矩/N·m | ||||||||||
| 强度极品 | 强度极品 | ||||||||||||
| 4.6 | 5.6 | 6.6 | 6.9 | 8.8 | 10.9 | 4.6 | 5.6 | 6.6 | 6.9 | 8.8 | 10.9 | ||
| M8 | 9.56 | 12.1 | 14.4 | 21.6 | 25.7 | 36.1 | M24 | 278 | 348 | 419 | 626 | 743 | 1044 |
| M10 | 19.0 | 23.9 | 28.4 | 42.9 | 50.7 | 71.5 | M27 | 334 | 452 | 541 | 814 | 964 | 1355 |
| M12 | 33.2 | 41.6 | 49.6 | 74.8 | 88.4 | 124.7 | M30 | 553 | 693 | 829 | 1246 | 1475 | 2087 |
| M14 | 52.9 | 66.1 | 79.6 | 119.4 | 140.5 | 198.1 | M36 | 967 | 1206 | 1446 | 2173 | 2575 | 3626 |
| M16 | 82.5 | 103.5 | 123.4 | 185 | 220 | 310 | M39 | 1284 | 1567 | 1872 | 2813 | 3333 | 4686 |
| M18 | 113 | 142 | 170 | 225 | 302 | 427 | M42 | 1547 | 1934 | 2313 | 3482 | 4116 | 5828 |
| M20 | 160 | 201 | 242 | 362 | 431 | 604 | M48 | 2314 | 2879 | 3480 | 5221 | 6153 | 8702 |
| M22 | 219 | 275 | 328 | 492 | 578 | 824 | |||||||
注:表中预紧力按螺栓预紧力 δ0≈0.7δa 确定的。
联接件螺栓拧紧按 1—2—...—7—8—9—10 的顺序。拧完后在从头拧起,分两至三次拧紧为止。
6)螺纹链接要采取防松措施,保证螺纹不松脱。螺纹防松就是防止螺纹副产生相对转动。常用方法有如图 2-3 所示几种。

图 2-3 螺纹联接防松的几种方法
a)双螺母;b)弹簧垫片;c)六角槽型螺母配开口销;d)串接钢丝
①对顶螺母。将螺母按正常情况拧紧后,再在上面加一螺母对顶拧紧。上面的螺母可以选择薄型螺母。为了防止装错,两螺母也可取同样的厚度。
②弹簧垫圈。该法应用极广,多用于不重要的联接。使用中应检查弹簧垫圈是否具有足够的弹力。一般要求在自由状态下开口的相对位移量不小于垫圈厚度的一半。拧紧后垫圈应该被完全压平。
③六角槽型螺母配开口销。该防松形式防松可靠,用于变载、振动大和重要联接的场合。
④钢丝绳联接。用低碳钢丝穿入螺栓头部专用孔后使其相互制约,防止可靠。但要注意钢丝绳缠绕方向必须正确。
⑤铆冲防松。用冲子冲坏螺纹副,这种方法防松可靠,但拆卸后零件不能再用,用于调整锁紧后不再轻易拆卸的联接。
⑥再旋合面上涂上厌氧性粘合剂。拧紧螺母后粘合剂硬化经粘结螺纹和螺母起到防松作用。常用粘合剂为 Y—150 厌氧胶。这种方法不宜用于高温场合。
2-33 螺纹联接如何拆卸?
答:螺纹联接的拆卸有如下几种情况:
1)双头螺柱拆卸。双头螺柱拆卸可以用双螺母或专业工具拆卸。双螺母法是拧入两个螺母在螺栓的一端,相互拧紧,然后用扳手扳靠近被联接件的螺母,按一般拆卸方法即可拆下。
2)断头螺钉的取出。拧断了安装在机座上的螺钉可以按下述方法取出残存在螺纹孔中的部分。
如果断头螺钉有外露断头,可以在外露部分上用锉刀锉成方头,然后用扳手拧出。也可在外露部分焊一螺母,然后拧出。
如果无外露断头时,采用下述方法:①在螺钉残端打中心孔。注意对中要准确,若存在偏心,将会给取出作业增加困难。②钻孔时钻头要选择适当。避免有偏心时切入螺纹部分。③用左旋螺纹制成的取出器插入孔中,用软锤轻轻敲击取出器端部,逆时针方向转动取出器即可取出螺钉。如果没有取出器,可用反向丝锥攻反向螺纹,拧入反向螺柱,在连同断头螺钉一同拆出。
3)锈死螺钉的拆除。浸入煤油或柴油,静置 20~30min。适当敲击螺钉和被联接件,振动锈层。然后先将螺钉向拧紧方向拧入 1/4 圈左右,在松动 1/2 圈,反复几次即可拧出。
2-34 螺纹如何修理?
答:有些重要的贵重的零件上的螺纹出现损坏更换零件很不经济时,应修复螺纹。
(1)修理时的注意事项
首先要辨别螺纹的种类,被修螺纹是英制螺纹还是米制螺纹。使用英制纹国家主要有英国、美国和加拿大。其余各国多用米制螺纹,但是管螺纹都是采用英制螺纹。
要分清螺距和牙形角,米制螺纹螺距用毫米表示,英制螺纹螺距用英寸时轴长度有多少扣牙表示。米制紧固螺纹压形角 60°,管螺纹牙形角 55°,英制紧固螺纹牙形角为 60°。
测量螺纹采用游标卡尺测量螺纹外径或螺纹内经,用螺纹规测量螺距和牙形角,定出螺纹的公称尺寸和螺距大小。
(2)外螺纹的修复
1)选择规格相同的扳牙,切除螺纹损坏处多余金属。
2)在螺纹有局部损伤的情况下,可选择与所修螺纹相匹配的螺纹锉刀、手工修复螺纹。注意一套螺纹锉刀有米制、英制两种规格,一把螺纹锉刀上有 8 种不同螺纹尺寸。
3)当螺纹一端经锤击而膨胀,可用三角锉刀修复,再用板牙套一次。
(3)内螺纹的修复
1)当螺纹部分损坏切磨损不严重时,可用丝锥拧过螺纹孔。
2)螺纹损坏严重时,在螺纹孔处重新钻孔、攻螺纹、使螺纹直径比原螺纹大,重新配置螺栓。
3)螺纹损坏严重时,可以钻去原螺纹加螺纹镶套(图 2-4)。

图 2-4 用螺纹镶套修复内螺纹
2-35 压力管道无泄漏检验标准的检查方法有哪些?
答:压力管道无泄漏检验标准见表 2-29。
| 序号 | 管道名称 | 检查方法 | 合格标准 |
| 1 | 所有管道,法兰,阀门,丝堵,活接,补偿器 | 用眼睛观察 | 不结焦、不冒烟、无渗透、无漏痕、无结垢 |
| 2 | 瓦斯、氨、氯、液态烃等易燃易爆或有毒气体 | 肥皂水试漏;精密试纸试漏 | 无气泡、不变色 |
| 3 | 氧气、氮气、空气系统 | 用 10mm 宽 100mm 长薄纸条试漏 | 无吹动现象 |
| 4 | 蒸汽系统 | 用肉眼观察 | 不漏汽,无水垢 |
| 5 | 氢气系统 | 高温部位关灯检查 | 无火苗;无吹动现象 |
| 低温部位用 10mm 宽 100mm 长薄纸条试漏 | |||
| 6 | 酸、碱等物料系统 | 用肉眼观察或用精密试纸试漏 | 无渗迹、无漏痕、不结垢、不冒烟、不变色 |
| 7 | 水玻璃、胶体系统 | 用肉眼观察 | 无渗迹、无漏痕 |
2-36 氧气站常用管子种类、材质有哪些?
答:氧气站常用管子种类、材质见表 2-30。
| 序号 | 管子材质 | 管子种类 | 材料牌号 | 备注 |
| 1 | 碳素钢管 | 低压流体输送用焊接钢管[GB/T 3091-2001(2008)] | Q235A、Q235B | 焊接钢管 |
| 输送流体用无缝管[GB/T 8163-1999(2008)] | 10、20、Q295、Q345 | 无缝钢管 | ||
| 2 | 不锈钢管 | 流体输送不锈钢焊接钢管[GB/T 12771-2008] | 1Cr18Ni9,0Cr18Ni9,00Cr19Ni10,0Cr18Ni9,0Cr23Ni13 | |
| 流体输送不锈钢无缝钢管[GB/T 14976-2002] | 不锈钢管 | |||
| 3 | 铜管 | 铜管(GB/T 1527-2006) | T2、T3、TU1、TU2、TP1、TP2 | 纯铜管 |
| 黄铜管(GB/T 1527-2006) | H62 | |||
| 4 | 铝管 | 铝合金管 | 1035、1050A、1060、1060A |
2-37 氧气管道常用法兰及选用标准是什么?
答:氧气管道常用法兰及选用标准见表 2-31。
| 工作压力 p/MPa | 法兰形式 | 标准号 |
| 0.6≤p≤2.5 | 翻边松套法兰 | GB/T 9122—2000 |
| p≤2.5 | 钢制平焊法兰 | GB/T 9119—2000 |
| 平煤环松套法兰 | GB/T 9121.1—2000 | |
| 2.5<p≤4.0 | 钢制对焊法兰 | GB/T 9115.1—2000 |
| 6.4<p≤15.0 | 钢制对焊法兰 | GB/T 9115.2—2000 |
| 高压螺纹法兰 |
2-28 氧气管道法兰用垫片选用是什么?
答:氧气管道法兰用垫片应无油脂,并应考虑垫片可能因受压碎裂掉入管内,造成氧气管道燃烧的条件,因此不能选用易燃材料制成的垫片。一般情况可按表 2-32 选用。
| 管道输送介质 | 工作压力 p/MPa | 工作温度 t/℃ | 垫片材料 | 备注 |
| 气态氧 | p≤0.25 | t≤200 | 石棉橡胶板 | |
| 0.25<p≤0.6 | t>?180 | 衬垫石棉板;金属石棉缠绕垫 | ||
| 0.6<p≤2.5 | t<150 | 金属包石棉绳垫(石棉绳加铅粉) | 法兰密封面采用榫槽时,可用 XB350 橡胶石棉板或 2 号硬钢纸 | |
| 2.5<p≤6.4 | t<150 | 铝片(退火)、铜片(退火) | 法兰密封面采用透视镜时,应采用刚或黄铜制的透镜垫片 | |
| 6.4<p≤16.5 | t<150 | 铜片 | ||
| 液态氧 | p≤0.5 | t<?180 | 石棉橡胶板、衬垫石棉板 |
2-39 管道的涂色与标志有哪些规定?
答:(1)管道涂色与标志的规定
在工业企业中,厂房内及厂区经常需要安装大量的输送各类气体和液体的管道,为了便于识别管内流体的种类和状态以及有利于管道进行管理、维修、安全等方面考虑。通常采取以下三种方法进行管道的涂色与标志。
1)一般在不同流体的管道表面或管道绝热层外表面,涂覆不同颜色的涂料,有时也可涂刷指向箭头,标出介质的流向作为标识。
2)如果输送流体的温度或成分不同,需加以区别时,可以在已涂色的管道表面上,选择一种温度或成分涂刷色作为标识。
3)如果以上两种方法仍然不能确定管内流体的性质或参数时,可采取在管道外表面涂刷流体的名称或化学符号,也可标出流体的温度和压力作为标识。
由于管道的工程的内容不一,管道内流体流动的介质种类较多,所以管道的涂色和标识应根据具体工程情况进行使用,以易于操作、方便管理及维修为原则。因此,各系统的规定不统一,工程中设计有规定时应按设计规定涂色,设计无规定时,可按表 2-33 所列使用。
(2)色环及识别符号的涂装要求
1)色环的间距应分布均匀,便于观察,一般在直管段上其间距以 5m 左右为宜。色环的宽度可按管径大小来确定,外径(包括绝热层)在 150mm 以内,色环宽度为 70mm;外径在 300mm 以上者,色环宽度为 100mm。
2)色环、流体名称或化学符号和箭头应涂刷在管道交叉点,阀门和穿孔两侧的管道上,以及需要观察识别的部位。
3)输送的流体如果是双向流动的,应标出两个相反方向的箭头。箭头一般涂成白色或黄色,底色浅者则涂成深色箭头。
4)当识别符号直接涂刷在外径小于 90mm 的管道上且不易识别时,可在所有需要识别的部位挂一标牌,标牌一般做成 250mm×150mm 的矩形。标牌上应标明流体名称,标出介质流向。
| 序号 | 管道名称 | 颜色 | 备注 | |||
| 底色 | 色环 | |||||
| 1 | 过热蒸汽管 | 红 | 黄 | |||
| 2 | 饱和蒸汽管 | 红 | — | |||
| 3 | 废气管 | 红 | 绿 | |||
| 4 | 凝结水管 | 绿 | 红 | 自流 | ||
| 5 | 热水供水管 | 绿 | 黄 | |||
| 6 | 热水回水管 | 绿 | 褐 | |||
| 7 | 制冷系统管道 | 氨管道 | 吸入管 | 蓝 | — | |
| 液体管 | 黄 | — | ||||
| 压出管 | 红 | — | ||||
| 油管 | 淡黄 | — | ||||
| 空气管 | 白 | — | ||||
| 安全管 | 棕色 | — | ||||
| 盐水管道 | 压出管 | 绿 | — | |||
| 回流管 | 褐 | — | ||||
| 水管道 | 压出管 | 浅蓝 | — | |||
| 回流管 | 紫 | — | ||||
| 8 | 疏水管 | 绿 | 黑 | |||
| 9 | 工业用水管 | 黑 | — | |||
| 10 | 工业和消防合用水管 | 黑 | 橙黄 | |||
| 11 | 生活饮用水管 | 蓝 | — | |||
| 12 | 消防水管 | 橙黄 | — | |||
| 13 | 中水管 | 浅绿 | — | |||
| 14 | 雨水管 | 黑 | 绿 | |||
| 15 | 排水管 | 绿 | 蓝 | |||
| 16 | 油管 | 橙黄 | — | |||
| 17 | 高热值煤气管 | 黄 | — | |||
| 18 | 低热值煤气管 | 黄 | 褐 | |||
| 19 | 液化石油气管 | 黄 | 绿 | |||
| 20 | 压缩空气管 | 浅蓝 | — | |||
| 21 | 净化压缩空气管 | 浅蓝 | 黄 | |||
| 22 | 乙炔管 | 白 | — | |||
| 23 | 氧气管 | 蓝 | — | |||
| 24 | 氢气管 | 白 | 红 | |||
| 25 | 氮气管 | 棕 | — | |||
| 26 | 油管 | 橙黄 | — | |||
| 27 | 排气管 | 红 | 黑 | |||
| 28 | 软化(被给)水管 | 绿 | 白 | |||
| 29 | 盐水管 | 浅黄 | — | |||
2-40 机械行业动力管道油漆色标有什么要求?
答:机械行业动力管道油漆色标应按照 2-34 规定涂色,管道的色环宽度及间距应安表 2-35 规定涂刷,管道示意图上的管道颜色与此一致。
| 管道名称 | 颜色 | 管道名称 | 颜色 | 管道名称 | 颜色 | |||||
| 基本色 | 色环 | 基本色 | 色环 | 基本色 | 色环 | |||||
| 过热蒸汽管 | 红 | 黄 | 雨水管 | 绿 | — | 制冷系统装置 | 氨管道 | 吸入器 | 蓝 | — |
| 饱和蒸汽管 | 红 | 油管 | 黄 | — | 液体管 | 黄 | — | |||
| 压缩蒸汽管 | 浅蓝 | — | 乙炔管 | 白 | — | 压出管 | 红 | — | ||
| 凝结水管 | 绿 | 红 | 氧气管 | 深蓝 | — | 油管 | 淡黄 | — | ||
| 热水供水管 | 绿 | 黄 | 天然气管 | 黄 | 黑 | 空气管 | 白 | — | ||
| 热水回水管 | 绿 | 褐 | 高热值煤气管 | 黄 | — | 盐水管道 | 压出管 | 绿 | — | |
| 工业用水管 | 黑 | — | 低热值煤气管 | 黄 | 褐 | 回流管 | 褐 | — | ||
| 工业用水管(和消防用水合用管道) | 黑 | 橙黄 | 氢气管 | 白 | 红 | 水管道 | 压出管 | 浅蓝 | — | |
| 生活饮用水管 | 蓝 | — | 液化石油气管 | 绿 | 绿 | 压出管回流管 | 紫 | — | ||
| 消防用水管 | 橙黄 | — | — | |||||||
注:1.在管道交叉处、阀门操作管道弯头处等,应在管道上标示介质流动方向箭头。
2.设备涂色一般可采用:暖气片、暖风机登用银白色;压缩空气储气罐用灰色;离子交换器用绿色或者灰色;加热器、热交换器等用红色;水箱用绿色。
3.考虑到企业现况,对室外的蒸汽管道(已采取保温措施)和煤气管道,管道交叉处,管道弯头处及阀门两处的管道,均能明显涂刷管长度 2m 的面色;在直管道上,每隔 50m 要明显涂刷长度 2m 的面色。
| 管道保温层外径 | 色环宽度 | 色环间距 |
| <150 | 50 | 5~10 |
| 150~300 | 70 | 10~20 |
| >300 | 100 | 20~40 |
石油、化工等行业由于工艺生产特殊性、故专门制定行业工业管道的涂色规定和要求,请参照有关规定执行。
2-41 什么是阀?阀门有哪些分类方法?
答:阀是控制流体(气体或液体)通过管道以减低他们的压力或改变流路方向的任何一种装置,例如截止阀、减压阀、安全阀等。
阀门分类方法:机电产品总和分类如下:


注:后有“等”者项目多未列出。
机电产品按结构分类如下:

机电产品按特征分类如下:

还有按材料分类、按压力分类、按工作温度分类等其他分类方法。
机电产品按用途分类如下:

2-42 工业企业常用的阀门有哪些?
答:工业企业常用的阀门(各工业企业中各管道上普遍采用的阀门情况)如下:
启闭用的阀门:闸阀、球阀、蝶阀、截止阀、旋转阀,用来启闭管路用的阀门,称此类阀门为闭路阀门。
调节用的阀门:减压阀、节流阀,用于调节管内的介质压力和流量。
止回用的阀门:止回阀,用于防止介质倒流的阀门。
分配用的阀门:三通旋阀门,用于改变管路的介质流动方向和分配介质用。
疏水隔气用的阀门:疏水阀,用于排除凝结水、防止蒸汽跑漏。
安全用阀门:安全阀(溢流阀),用于超压安全保护,排放多余介质,防止压力超过规定值。
2-43 阀门型号编制方法和阀门标志发展如何?
答:阀门型号通常应表示出阀门类型、驱动方式、连接形式、结构特点、密封面材料、阀体材料和公称压力等要素。阀门型号的标准化对阀门的设计、选用、经销和施工管理提供了方便。
科学技术的日新月异,表现在阀门技术领域,使得阀门的类型和材料越来越多,阀门的型号编制也越来越复杂。我国虽有阀门型号编制的统一标准,但越来越不能适应阀门工艺发展的需要。目前,阀门制造厂一般都采用统一的编号方法:凡不能采用统一编号方法的,各阀门生产厂家均按自己的需要制定出编号方法。
2-44 阀门型号是如何表示的?
答:阀门型号由七个单元组成,各个单元的表示方法及含义见表 2-36。
![]() |
第一单元 | 第二单元 | 第三单元 | 第四单元 | 第五单元 | 第六单元 | 第七单元 |
| 表示方法 | 大写汉语拼音字母 | 阿拉伯数字 | 阿拉伯数字 | 阿拉伯数字 | 大写汉语拼音字母 | 阿拉伯数字 | 大写汉语拼音字母 |
| 表示意义 | 阀门类型 | 驱动方式 | 连接方式 | 结构形式 | 密封圈或衬里材料 | 公称压力 | 阀体材料 |
2-45 阀门类型代号是什么?
答:阀门类型代号用大写汉语拼音字母表示,见表2-37。
| 阀门类型 | 代号 | 阀门类型 | 代号 | 阀门类型 | 代号 | 阀门类型 | 代号 |
| 闸阀 | Z | 球阀 | Q | 节流阀 | L | 疏水阀 | S |
| 截止阀 | J | 止回阀 | H | 排污阀 | P | ||
| 蝶阀 | D | 隔膜阀 | G | 安全阀 | A | ||
| 旋转阀 | X | 柱塞阀 | U | 减压阀 | Y |
注:低温(低于 ?40℃)、保温(带加热套)和带波纹管的阀门,抗硫的的阀门,在类别代号前分别加汉语评语字母 D、B、W 和 K。
2-46 阀门的驱动代号是什么?
答:阀门的驱动代号见表 2-38 所示。
| 电动方式 | 代号 | 电动方式 | 代号 | 电动方式 | 代号 | 电动方式 | 代号 |
| 电磁动 | 0 | 涡轮 | 3 | 气动 | 6 | 电动 | 9 |
| 电磁—液动 | 1 | 正齿轮 | 4 | 液动 | 7 | ||
| 电—液动 | 2 | 伞齿轮 | 5 | 气—液动 | 8 |
注:1.手轮、手柄和扳手传动的,以及安全阀、减压阀、蒸汽输水管等,本单元代号可省略。
2.对于气动或液动,常开式用 6k,7k表示,常闭式用 6B,7B;气动带手动,用 6S 表示;防爆电动用 9B 表示;螺杆 -T 型螺母,用 3T 表示。
3.代号 2 及代号 8 是用在阀门启闭时需要由两种动力源同时对阀门进行动作的执行机构。
2-47 阀门的连接形式代号是什么?
答:阀门的联接形式代号见表 2-39。
| 连接形式 | 代号 | 连接形式 | 代号 | 连接形式 | 代号 |
| 内螺纹 | 1 | 法兰 | 4 | 卡箍 | 8 |
| 外螺纹 | 2 | 焊接 | 6 | 卡套 | 9 |
| 两不同连接 | 3 | 对夹 | 7 |
注:焊接包括承插焊和对接焊。
2-48 阀门的结构形式代号是什么?
答:阀门的结构代号用阿拉伯数字表示。闸阀的结构形式代号见表 2-40;截止阀、节流阀和柱塞阀的结构形式代号见表 2-41;蝶阀的结构形式代号见表 2-42;旋塞阀的结构形式代号见表 2-43;球阀的结构形式代号见表 2-44;止回阀的结构形式代号见表 2-45;隔膜阀的结构形式代号见表 2-46;安全阀的结构形式代号见表 2-47;减压阀的结构形式代号见表 2-48;疏水阀的结构形式代号见表 2-49;排污阀的结构形式代号见表 2-50。
| 闸阀结构 | 代号 | |||
| 明杆 | 契约 | 弹性闸板 | 0 | |
| 刚性 | 单闸板 | 1 | ||
| 双闸板 | 2 | |||
| 平行式 | 单闸板 | 3 | ||
| 双闸板 | 4 | |||
| 暗杆 | 契约 | 单闸板 | 5 | |
| 双闸板 | 6 | |||
| 平行式 | 单闸板 | 7 | ||
| 双闸板 | 8 | |||
| 截止阀、节流阀和柱塞阀的结构形式代号 | 代号 | 截止阀、节流阀和柱塞阀的结构形式代号 | 代号 | |
| 直通式 | 1 | 直流式(Y 形) | 5 | |
| Z 形直通式 | 2 | 平衡 | 直通式 | 6 |
| 三角式 | 3 |
角式 |
7 | |
| 角式 | 4 | 针形截止阀 | 8 | |
| 蝶阀结构形式 | 代号 | 蝶阀结构形式 | 代号 | ||
| 密封性 | 中线式 | 1 | 非密封封 | 中线式 | 5 |
| 单偏心 | 2 | 单偏心 | 6 | ||
| 双偏心 | 3 | 双偏心 | 7 | ||
| 连杆偏心 | 4 | 连杆偏心 | 8 | ||
| 旋塞阀结构形式 | 代号 | 旋塞阀结构形式 | 代号 | ||
| 填料密封 | L 形 | 2 | 油封密封 | L 形 | 6 |
| 直通形 | 3 | 直通形 | 7 | ||
| T 形三通 | 4 | T 形三通 | 8 | ||
| 四通 | 5 | 静配 | 直通形 | 9 | |
| T 形三通 | 0 | ||||
| 球阀结构形式 | 代号 | 球阀结构形式 | 代号 | ||||
| 浮动球 | 直通式 | 1 | 固定球 | 直通式 | 7 | ||
| Y 形 | 三通式 | 2 | 四通 | 6 | |||
| L 形 | 3 | T 形 | 三通 | 8 | |||
| T 形 | 4 | L 形 | 9 | ||||
| 半球直通 | 0 | ||||||
| 球阀结构形式 | 代号 | 球阀结构形式 | 代号 | ||||
| 浮动球 | 直通式 | 1 | 固定球 | 直通式 | 7 | ||
| Y 形 | 三通式 | 2 | 四通 | 6 | |||
| L 形 | 3 | T 形 | 三通 | 8 | |||
| T 形 | 4 | L 形 | 9 | ||||
| 半球直通 | 0 | ||||||
| 球阀结构形式 | 代号 | 球阀结构形式 | 代号 | ||||
| 浮动球 | 直通式 | 1 | 固定球 | 直通式 | 7 | ||
| Y 形 | 三通式 | 2 | 四通 | 6 | |||
| L 形 | 3 | T 形 | 三通 | 8 | |||
| T 形 | 4 | L 形 | 9 | ||||
| 半球直通 | 0 | ||||||
| 球阀结构形式 | 代号 | 球阀结构形式 | 代号 | ||||
| 浮动球 | 直通式 | 1 | 固定球 | 直通式 | 7 | ||
| Y 形 | 三通式 | 2 | 四通 | 6 | |||
| L 形 | 3 | T 形 | 三通 | 8 | |||
| T 形 | 4 | L 形 | 9 | ||||
| 半球直通 | 0 | ||||||
| 球阀结构形式 | 代号 | 球阀结构形式 | 代号 | ||||
| 浮动球 | 直通式 | 1 | 固定球 | 直通式 | 7 | ||
| Y 形 | 三通式 | 2 | 四通 | 6 | |||
| L 形 | 3 | T 形 | 三通 | 8 | |||
| T 形 | 4 | L 形 | 9 | ||||
| 半球直通 | 0 | ||||||
| 止回阀的结构形式 | 代号 | 止回阀的结构形式 | 代号 | 止回阀的结构形式 | 代号 | ||
| 升降式 | 直通式 | 1 | 旋启式 | 单瓣式 | 4 | 回转蝶形止回式 | 7 |
| 立式 | 2 | 多瓣式 | 5 | 截止止回式 | 8 | ||
| 角式 | 3 | 双瓣式 | 6 | ||||
| 隔膜阀的结构形式 | 代号 | 隔膜阀的结构形式 | 代号 | 隔膜阀的结构形式 | 代号 |
| 屋脊式 | 1 | 直通式 | 6 | 角式 T 形 | 9 |
| 截止式 | 3 | 闸板式 | 7 | ||
| 直流板式 | 5 | 角式 Y 形 | 8 |
| 安全阀的结构形式 | 代号 | |||
| 弹簧 | 封闭 | 带散热片 | 全启式 | 0 |
| 微启式 | 1 | |||
| 全启式 | 2 | |||
| 带扳手 | 全启式 | 4 | ||
| 不封闭 | 双弹簧微启式 | 3 | ||
| 微启式 | 7 | |||
| 全启式 | 8 | |||
| 带控制机构 | 全启式 | 6 | ||
| 脉冲式 | 9 | |||
| 杠杆式 | 5 | |||
| 减压阀的结构形式 | 代号 | 减压阀的结构形式 | 代号 | 减压阀的结构形式 | 代号 |
| 直接作用波纹管式 | 1 | 先导活塞式 | 3 | 先导薄膜式 | 5 |
| 直接作用薄膜式 | 2 | 先导波纹管式 | 4 |
| 疏水阀的结构形式 | 代号 | 疏水阀的结构形式 | 代号 | 疏水阀的结构形式 | 代号 |
| 浮球式 | 1 | 液体或固体膨胀式 | 4 | 双金属片或弹性式 | 7 |
| 迷宫或孔扳式 | 2 | 钟形浮子式 | 5 | 脉冲式 | 8 |
| 浮桶式 | 3 | 蒸汽压力式 | 6 | 圆盘式 | 9 |
| 排污阀的结构形式 | 代号 | 排污阀的结构形式 | 代号 | ||
| 液面连接 | 截止型直通式 | 1 | 液底间断 | 截止型直通式 | 6 |
| 截止型角式 | 2 | 截止型角式 | 7 | ||
| 液底间断 | 截止型直流式 | 5 | 浮动闸板型直通式 | 8 | |
2-49 阀座密封面或衬里材料代号是什么?
答:阀座密封面或衬里材料代号用大写汉语拼音字母表示,见表 2-51。
| 阀座密封面或衬里材料代号 | 代号 | 阀座密封面或衬里材料代号 | 代号 |
| 锡基轴承合金(巴氏合金) | B | 尼龙塑料 | N |
| 搪瓷 | C | 渗硼钢 | P |
| 渗氮钢 | D | 衬铅 | Q |
| 1.8-8 系不锈钢 | E | Mo2Ti 系不锈钢 | R |
| 氟塑料 | F | 塑料 | S |
| 玻璃 | G | 铜合金 | T |
| Cr13 系不锈钢 | H | 橡胶 | X |
| 衬胶 | J | 硬质合金 | Y |
| 蒙乃尔合金 | M |
注:1.由阀体直接加工的阀座密封面材料代号用 W 表示。
2.当密封副的密封面材料不同时,以硬度低的材料代号表示。
2-50 阀体材料代号是什么?
答:阀体材料代号用大写汉语拼音字母表示,见表 2-52。如果是公称压力 PN≥2.5MPa 的钢碳阀门,则本单元省略了。
| 阀体材料 | 代号 | 阀体材料 | 代号 |
| 钛及钛合金 | A | 球墨铸铁 | Q |
| 碳钢 | C | Mo2Ti 系不锈钢 | R |
| Cr13 系不锈钢 | H | 塑料 | S |
| 铬钼钢 | I | 铜和铜合金 | T |
| 可锻造铁 | K | 铬铝钒钢 | V |
| 铝合金 | L | 灰铸铁 | Z |
| 1.8-8 系不锈钢 | P |
2-51 阀门的命名有哪些规定?
答:(1)阀门命名
阀门的名称按传动方式、连接形式、结构形式、衬里材料和类型命名,但下述内容在命名中均予省略:
1)连接形式中的“法兰”。
2)结构形式中:①闸阀的“明杆”、“弹性”、“刚性”和“单闸板”;②截止阀和节流阀的“直通式”;③球阀的“浮动”和“直通式”;④蝶阀的“垂直板式”;⑤隔膜阀的“屋脊式”;⑥旋塞阀的“填料”和“直通式”;⑦止回阀的“直通式”和“单瓣式”;⑧安全阀的“不封闭”。
3)阀座密封面材料中的材料名称。
(2)阀门型号和名称编制方法示例
例 2-1 阀门类型为闸阀,采用电驱动、法兰连接、明杆楔式双闸板,阀座密封面材料由阀体直接加,阀门的公称压力为 PN=0.1MPa,阀体材料为灰铸铁,表示为:
Z942W—1 命名为:电动楔式双闸板闸阀。
例 2-2 阀门类型为球阀、手动、外螺纹联接、浮动直通式、阀座密封面材料为氟塑料,阀门的公称压力为 PN=4.0MPa。阀体材料为 1Cr18Ni9Ti,表示为:
Q21F—40P 命名为:外螺纹球阀。
例 2-3 阀门类型为隔膜阀,气动常开式、法兰连接、屋脊式,衬里材料为衬胶、阀门的公称压力与 PN=0.6MPa,阀体材料为灰铸铁,表示为:
G6K41J-6 命名为:气动常开式衬胶隔膜阀。
例 2-4 阀门类型为蝶阀、液动、法兰连接、垂直板式、(密封面材料为铸铜)阀瓣密封面材料为橡胶,公称压力为 PN=0.25MPa,阀体材料为灰铸铁,表示为:
D741X-2.5 命名为:液动蝶阀。
例 2-5 阀门类型为截止阀、电动、焊接连接、直通式、阀座密封面材料为堆焊硬质合金,在 540℃ 下的工作压力为 17MPa,阀体材料与铬钼矾合金钢,表示为:
J961Y-P34170V 命名为:电动合金截止阀。
例 2-6 阀门类型为止回阀、法兰连接、旋启双瓣式、阀座密封面材料为铜合金、公称压力为 PN=1.0MPa,阀体材料为灰铸铁,表示为:
H46T-10 命名为:双瓣旋启式止回阀。
(3)阀门标志
通向阀门必须使用和可选择的标志项目见表 2-53。对于手动阀门,如果首轮尺寸足够大,则手轮上应设有指示阀门关闭方向的箭头或附加“关”字。
| 项目 | 标志 | 项目 | 标志 |
| 1 | 公称直径(DN) | 11 | 标准号 |
| 2 | 公称压力(PN) | 12 | 熔炼炉号 |
| 3 | 受压部件材料代号 | 13 | 内件材料代号 |
| 4 | 制造厂名或商标 | 14 | 工位号 |
| 5 | 介质流向的箭头 | 15 | 衬里材料代号 |
| 6 | 密封环(垫)代号 | 16 | 质量和检验标记 |
| 7 | 极限温度(℃) | 17 | 检验人员印记 |
| 8 | 螺纹代号 | 18 | 制造年、月 |
| 9 | 极限压力 | 19 | 流动特性 |
| 10 | 生产厂编号 |
通用阀门的具体标志规定如下:
1)表 2-53 中的 1~4 项是必须使用的标志,对于 DN≥50mm 的阀门,应标记在阀体上,对于 DN<50mm 的阀门。标记在阀体上还是标牌上,由产品设计者规定。
2)表 2-53 中的第 5 项和第 6 项只有当某类阀门标准中有此规定时才是必须使用的标志,它们应分别标记在阀体及法兰上。
3)如果各类阀门标准中没有特殊规定,则表 2-53 中 7~19 项是按需要选择的标志。当需要时,可标记在阀体或标牌上。
对于减压阀、在阀体上的标志除按表 2-53 的规定外,还应有出厂日期、适用介质、出口压力等。
4)蒸汽疏水阀的标志按表 2-54 的规定,标志可设在阀体上,也可标在标牌上。
5)安全阀的标志按表 2-55 的规定,标志标在标牌上。
| 项目 | 必须使用的标志 | 项目 | 必须使用的标志 |
| 1 | 产品型号 | 1 | 阀体材料 |
| 2 | 公称直径 DN | 2 | 最高允许压力 |
| 3 | 公称压力 PN | 3 | 最高允许温度 |
| 4 | 制造名称和商标 | 4 | 最高排水温度 |
| 5 | 介质流动方向的指示箭头 | 5 | 出厂编号、日期 |
| 6 | 最高工作压力 | — | — |
| 7 | 最高工作温度 | — | — |
| 项目 | 阀体上的标志 | 项目 | 标牌上的标志 |
| 1 | 公称直径 DN | 1 | 阀门设计的允许最高的工作温度(℃) |
| 2 | 阀体材料 | 2 | 整定压力(MPa) |
| 3 | 制造厂名称或商标 | 3 | 依据的标准号 |
| 4 | 当进口于出口连接部分的尺寸或压力级相同时,应有指明介质流动方向的箭头 | 4 | 制造厂的基准型号 |
| 5 | 额定排量系数或对于基准介质的额定排量 | ||
| 6 | 流道面积(mm²) | ||
| 7 | 开启高度(mm) | ||
| 8 | 超过压力百分数 |
2-52 什么是闸阀?闸阀的特点是什么?
答:闸阀又称闸板阀,启闭件为闸板,由阀杆带动阀板做升降运动的阀门称为闸阀。
闸阀的特点为:
1)闸阀的优点:流体流动阻力小;启闭所需力矩小;介质流向不受限制;启闭无水击现象;形体结构不叫简单,制造工艺性较好。
2)闸阀的特点:外形尺寸和安装高度较大,所需的安装空间亦较大;在启闭过程中,密封面有相对摩擦,磨损较大,甚至高温式容易引起擦伤现象;闸阀一般都有两个密封面,给加工、研磨和维修增加了一些困难。
闸阀应用范围广泛。通常用于公称直径 DN≥50mm 的给水管路。
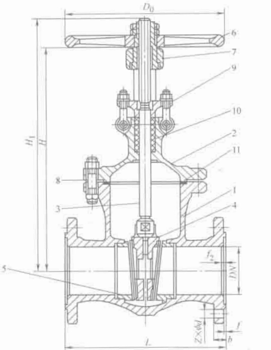
2-53 闸阀如何分类?闸阀型号及参数有哪些?
答:闸阀按连接方式分螺纹闸法兰闸阀和焊接闸阀,按结构特征分平行式闸板和楔式闸板,按阀门阀杆结构分明杆(升降杆)闸阀和暗杆(旋转杆)闸阀。
1)明杆平行式双闸板闸阀:明杆平行式双闸板闸阀如图 2-5 所示,它的闸板式由两块对称平行放置的两圆盘组成,当闸板下降时靠至于闸板下部的顶楔使两闸板向外扩张紧压在阀座上,使阀门关严。当闸板上升时,楔块就被圆盘上的凸块托起,并随闸板一起上升。该型阀门结构简单,密封面的加工、研磨、检修都比楔式闸阀简便,但密封性较差,适用于压力不超过 1.0MPa,温度不超过 200℃ 的介质。
;

图 2-5 明杆平行式双闸板闸阀
1-阀体;2-阀盖;3-阀杆;4-阀杆螺母;5-闸板;6-首轮;7-填料压盖;8-填料;9-顶楔;10-垫片;11-密封圈;
2)暗杆楔式闸板闸阀:图 2-6 所示为楔式闸板阀门,该阀的密封面是倾斜的,并形成一个夹角,介质温度越高,夹角越大。楔式闸板分单闸板、双闸板、弹性闸板,分别如图 2-6a、b、c 所示。

图 2-6 暗杆楔式闸板闸阀
a-楔形单闸板;b-楔形双闸板;c-楔形弹性闸板
1-阀体;2-阀盖;3-阀杆;4-阀杆螺母;5-闸板;6-手轮;7-压盖;8-填料;9-填料箱;10-垫片;11-指示器;12、13-密封圈
弹性闸板如图 2-7 所示,它具有结构简单、使用可靠等优点,又能产生微小的弹性变形,增加了关闭的严密性。

图 2-7 弹性闸板闸阀
1-阀体;2-阀盖;3-阀杆;4-阀板;5-密封圈;6-手轮;7-阀杆螺母;8-联接螺栓;9-填料压盖;10-填料;11-垫片
明杆闸阀中,阀杆的螺纹与附有首轮的套简螺母相配合,阀杆的下端有方头,嵌于闸板中,旋转手轮时,阀杆和闸板作上下的升降运动。开启时,阀杆伸出手轮,优点是从阀杆的外伸长度能判断从阀门的开启程度,阀杆不直接与输送介质接触;缺点是阀门开启高度达,安装场所必须有阀杆外伸的足够空间。现场安装时,一定要注意着一点。暗杆闸阀的阀杆外螺纹与嵌在阀门内的内螺纹相配合,故旋转手轮时,阀杆作旋转运动,使得阀门内的闸板做升降运动,而阀杆不能上下升降。暗杆闸阀安装占据空间小,输送介质与阀杆直接接触,不能通过阀杆来判断阀门的开启程度。不管是明杆闸阀还是暗杆闸阀,闸阀安装均需水平安装。阀杆垂直向上,不应倾斜,严禁阀杆朝下安装。
常用闸阀型号及参数见表 2-56。
| 名称 | 型号 | 公称压力 PN/MPa | 适用介质 | 适用温度/℃≤ | 公称直径 DN/mm |
| 楔式双闸板闸阀 | Z42W-1 | 0.1 | 煤气 | 100 | 300~500 |
| 伞齿轮传动楔式双闸板闸阀 | Z542W-1 | 600~1000 | |||
| 电动楔式双闸板闸阀 | Z942W-1 | 600~1400 | |||
| 电动暗杆楔式双闸板闸阀 | Z946T-2.5 | 0.25 | 水 | 1600~1800 | |
| 电动暗杆楔式闸阀 | Z945T-6 | 0.6 | 1200~1400 | ||
| 楔式闸阀 | Z41T-10 | 1.0 | 蒸汽、水 | 200 | 50~450 |
| 楔式闸阀 | Z41W-10 | 油品 | 100 | 50~450 | |
| 电瓶楔式闸阀 | Z941T-10 | 蒸汽、水 | 200 | 100~450 | |
| 平行式双闸板闸阀 | Z44T-10 | 50~400 | |||
| 平行式双闸板闸阀 | Z44W-10 | 油品 | 100 | 50~400 | |
| 液动楔式闸阀 | Z741T-10 | 水 | 100~600 | ||
| 电动平行式双闸板闸阀 | Z944T-10 | 蒸汽、水 | 200 | 100~400 | |
| 电动平行式双闸板闸阀 | Z944W-10 | 油品 | 100 | 100~400 | |
| 暗杆楔式闸阀 | Z45T-10 | 水 | 50~700 | ||
| 暗杆楔式闸阀 | Z45W-10 | 油品 | 50~450 | ||
| 正齿轮传动暗杆楔式闸阀 | Z445T-10 | 水 | 80~1000 | ||
| 电动暗杆楔式闸阀 | Z945T-10 | 水 | 100~1000 | ||
| 电动暗杆楔式闸阀 | Z945T-10 | 油品 | 100~450 | ||
| 楔式闸阀 | Z40H-16C | 1.6 | 油品蒸汽水 | 350 | 200~400 |
| 电动楔式闸阀 | Z940H-16C | 200~400 | |||
| 气动楔式闸阀 | Z640H-16C | 200~500 | |||
| 楔式闸阀 | Z40H-16Q | 65~200 | |||
| 电动楔式闸阀 | Z940H-16Q | 65~200 | |||
| 楔式闸阀 | Z40W-16P | 硝酸类 | 100 | 200~300 | |
| 楔式闸阀 | Z40M-16R | 醋酸类 | 200~300 | ||
| 楔式闸阀 | Z40Y-16I | 油品 | 550 | 200~400 | |
| 楔式闸阀 | Z40H-25 | 2.5 | 油品蒸汽、水 | 350 | 50~400 |
| 电动楔式闸阀 | Z940H-25 | 50~400 | |||
| 气动楔式闸阀 | Z640H-25 | 50~400 | |||
| 楔式闸阀 | Z40H-25Q | 50~200 | |||
| 电动楔式闸阀 | Z940H-25Q | 50~200 | |||
| 伞齿轮传动楔式双闸板闸阀 | Z542H-25 | 蒸汽水 | 300 | 300~500 | |
| 电动楔式双闸板闸阀 | Z942H-25 | 300~800 | |||
| 承插焊楔式闸阀 | Z61Y-40 | 4.0 | 油品蒸汽水 | 425 | 15~40 |
| 楔式闸阀 | Z41H-40 | 15~40 | |||
| 楔式闸阀 | Z40H-40 | 50~250 | |||
| 正齿轮传动楔式闸阀 | Z440H-40 | 300~400 | |||
| 电动楔式闸阀 | Z940H-40 | 50~400 | |||
| 气动楔式闸阀 | Z640H-40 | 50~400 | |||
| 楔式闸阀 | Z40H-40Q | 350 | 50~200 | ||
| 电动楔式闸阀 | Z940H-40Q | 50~200 | |||
| 楔式闸阀 | Z40Y-40P | 硝酸类 | 100 | 200~250 | |
| 正齿轮传动楔式闸阀 | Z440Y-40P | 300~500 | |||
| 楔式闸阀 | Z40Y-40I | 油品 | 550 | 50~250 | |
| 楔式闸阀 | Z40H-64 | 6.4 | 油品蒸汽水 | 425 | 50~250 |
| 正齿轮传动楔式闸阀 | Z44H-64 | 300~400 | |||
| 电动楔式闸阀 | Z940H-64 | 50~800 | |||
| 电动楔式闸阀 | Z940Y-64I | 6.4 | 油品 | 550 | 300~500 |
| 楔式闸阀 | Z40Y-64I | 50~250 | |||
| 楔式闸阀 | Z40Y-100 | 10.0 | 油品蒸汽水 | 450 | 50~200 |
| 正齿轮传动楔式闸阀 | Z440Y-100 | 250~300 | |||
| 电动楔式闸阀 | Z940Y-100 | 50~300 | |||
| 承插焊楔式闸阀 | Z61Y-160 | 16.0 | 油品 | 15~40 | |
| 楔式闸阀 | Z41H-160 | 15~40 | |||
| 楔式闸阀 | Z40Y-160 | 50~200 | |||
| 电动楔式闸阀 | Z940Y-160 | 50~300 | |||
| 楔式闸阀 | Z40Y-160I | 550 | 50~200 | ||
| 电动楔式闸阀 | Z940-160I | 50~200 |
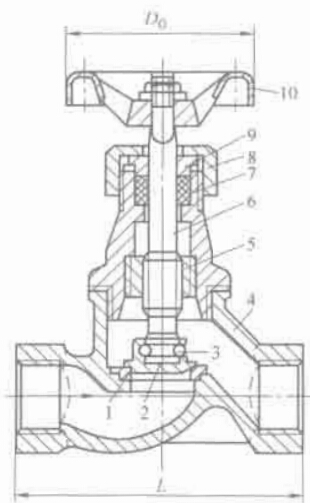
2-54 什么是截止阀?截止阀的特点是什么?
答:启闭件为阀瓣,由阀杆带动,沿阀座(密封面)轴线做升降运动的阀门,称为截止阀。
截止阀的特点:截止阀具有结构简单、安装尺寸小、密封性能好、密封面检修方便等特点;缺点是介质流动阻力大,常用于 DN≤200mm 的管路上。
2-55 截止阀有哪些应用?截止阀如何安装?
截止阀的应用:截止阀是最常用的阀门之一,可广泛用于各种参数的蒸汽、水、空气、氨、氧气、油品以及腐蚀性介质的管路上。由于截止阀大量应用于蒸汽管路,所以截止阀有“汽阀”、“汽门”之称。
截止阀的安装:截止阀安装有方向性,一般阀门上都标有箭头、箭头方向代表介质流动的方向。若无标注,则应按“低进高出”的原则进行安装。截止阀宜水平安装,阀杆朝上,阀杆不得朝下安装。
2-56 截止阀如何分类?截止阀型号和参数有哪些?
答:1)截止阀的分类是:
1)按连接方式分:截止阀按连接方式的不同可分为螺旋纹截止阀(图 2-8)、法兰截止阀(图 2-9)、卡套截止阀。

图 2-8
1-阀座;2-阀盘;3-铁丝圈;4-阀体;5-阀盖;6-阀杆;7-填料;8-填料压盖螺母;9-填料压盖;10-手轮

图 2-9
2)按结构形式分:截止阀按结构形式可分为上螺纹阀杆截止阀、下螺纹阀杆截止阀、直通式截止阀、角式截止阀、直流式截止阀、柱塞式截止阀、针形截止阀、内压自封式阀盖截止阀和螺纹焊接阀盖截止阀。
常用截止阀型号及参数见表 2-57 所示。
| 名称 | 型号 | 公称压力 PN/MPa | 适用介质 | 适用温度/℃≤ | 公称直径 DN/mm |
| 衬胶直流式截止阀 | J45J-6 | 0.6 | 酸、碱类 | 50 | 40~150 |
| 衬铅直流式截止阀 | J45Q-6 | 硫酸类 | 100 | 25~150 | |
| 焊接波纹管式截止阀 | WJ61W-P | 硝酸类 | 10~25 | ||
| 波纹管式截止阀 | WJ41W-6P | 32~50 | |||
| 内螺纹截止阀 | J11W-16 | 1.6 | 油品 | 100 | 15~65 |
| 内螺纹截止阀 | J11T-16 | 蒸汽、水 | 200 | 15~65 | |
| 截止阀 | J41W-16 | 油品 | 100 | 25~150 | |
| 截止阀 | J41T-16 | 蒸汽、水 | 200 | 25~150 | |
| 截止阀 | J41W-16P | 硝酸类 | 100 | 80~150 | |
| 截止阀 | J41W-16R | 醋酸类 | 100 | 80~150 | |
| 外螺纹截止阀 | J21W-25K | 2.5 | 氨、氨液 | -40~150 | 6 |
| 外螺纹角式截止阀 | J24W-25K | 6 | |||
| 外螺纹截止阀 | J21B-25K | 10~25 | |||
| 外螺纹角式截止阀 | J24B-25K | 10~25 | |||
| 截止阀 | J41B-25Z | 32~200 | |||
| 角式截止阀 | J44B-25Z | 32~50 | |||
| 波纹管式截止阀 | WJ41W-25P | 硝酸类 | 100 | 25~150 | |
| 直流式截止阀 | J45W-25P | 25~100 | |||
| 外螺纹截止阀 | J21W-40 | 4.0 | 油品 | 200 | 6~10 |
| 卡套截止阀 | J91W-40 | 6~10 | |||
| 卡套截止阀 | J91H-40 | 油品、蒸汽、水 | 425 | 15~25 | |
| 卡套角式截止阀 | J94W-40 | 油品 | 200 | 6~10 | |
| 卡套角式截止阀 | J94H-40 | 油品、蒸汽、水 | 425 | 15~25 | |
| 外螺纹截止阀 | J21H-40 | 油品、蒸汽、水 | 425 | 15~25 | |
| 外螺纹角式截止阀 | J24W-40 | 油品 | 200 | 6~10 | |
| 外螺纹角式截止阀 | J24H-40 | 油品、蒸汽、水 | 425 | 15~25 | |
| 外螺纹截止阀 | J21W-40P | 硝酸类 | 100 | 6~25 | |
| 外螺纹截止阀 | J21W-40R | 硝酸类 | 6~25 | ||
| 外螺纹角式截止阀 | J24W-40P | 硝酸类 | 6~25 | ||
| 外螺纹角式截止阀 | J24W-40R | 硝酸类 | 6~25 | ||
| 承插焊截止阀 | J61Y-40 | 油品、蒸汽、水 | 425 | 10~25 | |
| 截止阀 | J41H-40 | 10~150 | |||
| 截止阀 | J41W-40P | 硝酸类 | 100 | 32~150 | |
| 截止阀 | J41W-40R | 醋酸类 | 32~150 | ||
| 电动截止阀 | J94H-40 | 油品、蒸汽、水 | 425 | 50~150 | |
| 截止阀 | J41H-40Q | 350 | 32~150 | ||
| 角式截止阀 | J44H-40 | 425 | 32~50 | ||
| 截止阀 | J41H-64 | 6.4 | 50~100 | ||
| 电动截止阀 | J941-64 | 50~100 | |||
| 截止阀 | J41H-100 | 10.0 | 450 | 10~100 | |
| 电动截止阀 | J941H-100 | 50~100 | |||
| 角式截止阀 | J44H-100 | 32~50 | |||
| 承插焊截止阀 | J61Y-160 | 16.0 | 油品 | 15~40 | |
| 截止阀 | J41H-160 | 15~40 | |||
| 截止阀 | J41Y-1601 | 550 | 15~40 | ||
| 外螺纹截止阀 | J21W-160 | 200 | 6~10 |
2-57 什么是球阀?球阀的特点是什么?
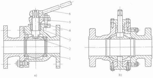
答:启闭件为球体,绕垂直于通路的轴线转动的阀门称为球阀。
球阀的特点:如图 2-10 所示,球体中部有一圆形孔道,操纵手柄旋转 90° 即可全开或全关,它具有结构简单、体积小、流道阻力小、密封性能好、操作方便、启闭迅速、便于维护等优点;缺点是高温时启闭困难、水击严重、易磨损。

图 2-10 球阀
a)浮动式球阀;b)固定式球阀
1-阀体;2-球体;3-调料;4-阀杆;5-阀盖;6-手柄
2-58 球阀的应用如何?
答:球阀是由旋塞演变而来,传统意义的球阀主要用于切断、分配和改变介质的流动方向。由于计算机铺助设计(CAD)和计算机辅助制造(CAM)以及柔性制造系统(FMS)在阀门行业的应用,使球阀的使用突破了他原有的使用空间和应用范围,在美、日、德、法、意、西等工业发达国家,球阀的应用非常广泛,并向高温、高压、大口径、高密封性能、长寿命、优良的调节性能以及一阀多用多功能的方向发展,其密封性能及使用的安全可靠性均达到了较高的水平。
2-59 球阀如何分类?球阀型号及参数有哪些?
答:球阀的分类为:
1)按连接方法分类:球阀按连接方式可分为螺纹球阀、法兰球阀、对夹球阀、卡套球阀、卡箍球阀、焊接球阀等。
2)按结构形式分类:球阀按结构形式可分为浮动球式、固定球式、带浮动球和弹性活动套筒阀座式、升降杆式、变孔径式、三通浮动球式、夹套浮动球球阀。
常用球阀型号及参数见表 2-58 所示。
| 名称 | 型号 | 公称压力 PN/MPa | 适用介质 | 适用温度/℃≤ | 公称直径 DN/mm |
| 内螺纹球阀 | Q11F-16 | 1.6 | 油品、水 | 100 | 15~65 |
| 球阀 | Q41F-16 | 32~50 | |||
| 电动球阀 | Q941F-16 | 50~150 | |||
| 球阀 | Q41F-16P | 硝酸类 | 100~150 | ||
| 球阀 | Q41F-16R | 醋酸类 | 100~150 | ||
| L 形三通式球阀 | Q44F-16Q | 油品、水 | 15~150 | ||
| T 形三通式球阀 | Q45F-16Q | 15~150 | |||
| 涡轮转动固定式球阀 | Q347F-25 | 2.5 | 150 | 200~500 | |
| 气动固定式球阀 | Q647F-25 | 200~500 | |||
| 电动固定式球阀 | Q947F-25 | 200~500 | |||
| 外螺纹球阀 | Q21F-40 | 4.0 | 10~25 | ||
| 外螺纹球阀 | Q21F-40P | 硝酸类 | 100 | 10~25 | |
| 外螺纹球阀 | Q21F-40R | 醋酸类 | 10~25 | ||
| 球阀 | Q41F-40Q | 硝酸类 | 150 | 32~100 | |
| 球阀 | Q41F-40P | 醋酸类 | 100 | 32~200 | |
| 球阀 | Q41F-40R | 油品、水 | 32~200 | ||
| 气动球阀 | Q641F-40Q | 油品、水 | 150 | 50~100 | |
| 电动球阀 | Q941F-40Q | 50~100 | |||
| 球阀 | Q41N-64 | 6.4 | 油品、天然气 | 80 | 50~100 |
| 气动球阀 | Q641N-64 | 50~100 | |||
| 电动球阀 | Q941N-64 | 50~100 | |||
| 气动固定式球阀 | Q647F-64 | 125~200 | |||
| 电动固定式球阀 | Q947F-64 | 125~500 | |||
| 气-液动固定式球阀 | Q247F-64 | 125~500 | |||
| 电-液动固定式球阀 | Q847F-64 | 125~500 | |||
| 气-液动焊接固定式球阀 | Q867F-64 | 400~700 | |||
| 电-液动焊接固定式球阀 | Q267F-64 | 400~700 |
2-60 什么是蝶阀?蝶阀的特点是什么?
答:启闭件为蝶板,绕固定轴转动的阀门为蝶阀。蝶阀具有多种叠板结构形式。其蝶板结构是直接随阀杆转作启闭运动的,也可以通过杠杆机构使蝶板做启闭运动。
蝶阀的特点是结构简单,体积小,重量轻,节省材料,安装空间小,而且驱动力矩小,操作简便、迅速。蝶阀结构如图 2-11 所示。

图 2-11 蝶阀
1-阀体;2-蝶板;3-密封圈;4-阀杆
2-61 蝶阀如何分类?蝶阀型号及参数有哪些?蝶阀的应用如何?
答:(1)蝶阀的分类
1)按结构形式分类:蝶阀按结构形式分为对称轴蝶阀、偏心距蝶阀、管状蝶阀、转动式蝶阀、倾斜旋转式蝶阀等。
2)按密封面材料分类:蝶阀按其密封面材料可分为软密封(密封副由非金属软质材料对非金属软质材料或金属硬质材料对金属软质材料构成)、硬密封(密封副由金属硬质材料对金属硬质材料构成)。
蝶阀型号及参数见表 2-59。
| 名称 | 型号 | 公称压力 PN/MPa | 适用介质 | 适用温度/℃≤ | 公称尺寸 DN/mm |
| 液动蝶阀 | D741X-2,5 | 0.25 | 油品、水 | 50 | 2200~3000 |
| 电动蝶阀 | D941X-2,5 | 1600~3000 | |||
| 电动蝶阀 | D941X-6 | 0.6 | 1200~1400 | ||
| 电动蝶阀 | D941X-10 | 1.0 | 250~1000 | ||
| 气动蝶阀 | D641X-10 | 250~1000 | |||
| 涡轮传动蝶阀 | S341X-10 | 250~1000 | |||
| 蝶阀 | D41X-10 | 100~200 |









