十大滚球app官网
摘要:蜡式热动力元件是以石蜡作为热敏材料,它具有结构简单、动作可靠、温度控制精度较高、无需外部能源等优点,在温度控制阀(thermostatic valve)中得到广泛的应用。该文阐述了关健元件——蜡式热动力元件的热力学模型,探讨了在蒸汽疏水阀中应用的可能性,并进行了实验验证与分析。实验表明:蜡式热动力元件在蒸汽疏水阀的使用条件下,运行稳定、可靠,但是不适合于高温场合。
关键词:热动力元件;数学模型;感温蜡;蒸汽疏水阀
1 前言
在能源日趋紧张的形势下,节能已成为我国发展国民经济的一条重要方针。蒸汽作为重要的二次能源,被广泛地应用在各种行业中,蒸汽疏水阀是保障蒸汽系统(加热设备或蒸汽管网)正常工作、凝结水回收利用、节约能源的重要自力式控制类阀门。在石油化工、能源动力(热电、核电)、印染纺织、造纸、船舶、制药、冶金、食品、供热等行业得到广泛应用。蒸汽疏水阀中,属于自力式温度控制阀的热静力式蒸汽疏水阀由于其可以有一定过冷度,节能效果好而得到重视。
蜡式热动力元件是新兴起的一种高效自力式温度控制阀的核心部件,它可以同时满足微位移与大驱动力的要求,且具有结构简单、动作可靠、温度控制精度较高等优点而被广泛使用。它根据固体和液体不可压缩和利用密封容器内工作介质(感温蜡与金属铜粉的混合物)的体积随温度变化而变化的物理性质而工作,提供蜡式热动力元件在膨胀方向上的驱动力。过去蜡式热动力元件主要用于 20℃~90℃ 的恒温阀、节温器等产品,由于内充介质感温蜡相变温度以及氟橡胶囊橡(或横隔膜)耐温,都可在 100℃~180℃,所以蜡式热动力元件有可能应用于热静力式蒸汽疏水阀一般高于 100℃ 的场合。
本文对蜡式热动力元件的原理、性能进行讨论,对在蒸汽疏水阀中的应用可能进行了探讨,并通过数学模型及实验加以论证。
1 蜡式热动力元件工作原理、性能特点
蜡式热动力元件是一种自力式温度调节装置,其基本结构如图 l 所示。

图 1 蜡式热动力元件
主要由活塞、胶囊橡胶体(或横隔膜)、密封容器、感温蜡组成。感温蜡被密封在铜罩和橡胶套之间,当流体或蒸汽通过蜡式热动力元件时,蜡式热动力元件受热(遇冷)→热量通过刚性紫铜密封容器外壁使杯内石蜡受热熔化(冷凝)体积膨胀(收缩)→推动胶囊橡胶体(或横隔膜)→推动活塞→带动调节套筒的运动,从而完成装置所要求的目的。推杆行程的大小是蜡式热动力元件的主要性能指标。同一温度下,载荷越大,行程越小。对于已确定的蜡元件和外载荷,蜡式热动力元件的特性是固定不变的。为了制造的标准化和系列化,可将蜡式热动力元件设计为标准型式,在需要的力量和行程较大时,可选用密封容器容积较大的,反之可选用容积较小的。这样可使蜡式热动力元件适用于不同的条件下和装置中,也对蜡式热动力元件的推广起到了很大的促进作用。在蜡式热动力元件中,推杆与弹性套筒之间的摩擦对蜡元件的工作寿命起着决定性的作用,因此在设计制造蜡式热动力元件时应尽可能的降低推杆和弹性套筒摩擦副表面的粗糙度,减小摩擦力。
蜡式热动力元件是一种温度敏感性元件,不同的设计额定温度就要使用相应膨胀性能的感温蜡,蜡的热膨胀性直接影响热动力元件的控温性能,因此对感温蜡的研究就显得非常重要。感温元件的关键部件是石蜡材料和橡胶套,为了使石蜡在各点能最大限度地均匀膨胀,在石蜡中掺有金属粉末,往石蜡里添加金属粉末来提高其导热性,而金属粉末的添加方式对石蜡复合材料的膨胀率也有一定影响,但不会改变石蜡复合材料的膨胀特性。
3 蒸汽疏水阀蜡式热动力元件实验研究
实验装置及实验原理
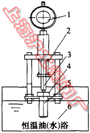
为了更好的说明蜡式热动力元件的特性,和在蒸汽疏水阀中应用的可能性,现对定制样件进行实验研究。简易的实验装置如图 2 所示。

图 2 简易实验装置简图(1.千分尺 2.弹簧 3.导杆 4.蜡式热动力元件 5.恒温油(水)浴)
主要由以下几部分组成:专用夹具、千分尺、压缩弹簧、导向套筒、恒温油浴,其中:采用恒温油浴控制温度模拟蒸汽疏水阀中一般高于 100℃ 的介质温度。压缩弹簧用来模拟疏水阀中作用于热动力元件的凝结水(蒸汽)的介质压力和复位弹簧力,调节弹簧压缩量或更换不同刚度的弹簧可以模拟不同的公称通径疏水阀的介质压力,夹具模拟疏水阀阀体来固定热动力元件。蜡式热动力元件的伸长量反映在实验夹具的千分尺上。
4 结论
(l)蜡式热动力元件的热力数学模型的建立与实验显示:精馏石蜡体积随温度的变化在相变区呈线形关系,且线性斜率较大,有利于实现温度的调节;
(2)感温蜡相变时具有很大的膨胀量和驱动力,以及不可压缩性,在刚性壳体内作为感温材料制作蜡式热动力疏水阀显示出很高的应用价值;
(3)由于蜡式热动力元件内件的限制,作为蒸汽疏水阀的感温元件,其适用温度范围有限,适合用于有一定过冷度的场合,不能用于高温环境。